TMC

Anclaje para materiales huecos

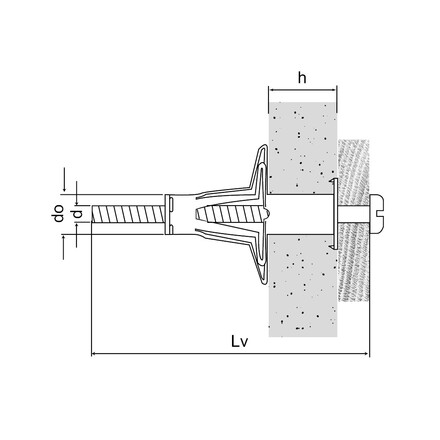
El anclaje metálico de expansión TMC con tornillo de rosca métrica premontada, permite fijar elementos sobre placas de yeso o cualquier soporte hueco cuya cavidad se corresponda con las dimensiones del anclaje.

El anclaje se coloca en el agujero del soporte con una pinza específica, la acción de la pinza permite que el anclaje se expanda y bloquee contra el soporte.

Después, se fija el elemento con el tornillo. 

Clase de servicio 2
Acero electrocincado
Interior

Detalles de producto

Imagenes

Características

Materia

  • Acero electrocincado

Ventajas

  • Cuello ancho para compensar imperfecciones del agujero
  • El montaje con pinzas limita el riesgo de degradación del soporte durante el montaje (lo que sucede en montajes con atornillado)
  • La geometría del anclaje, en particular las partes plegables, se ha mejorado para que el montaje sea más cómodo y para aumentar la resistencia.

Aplicaciones

Aplicación

  • Equipamiento eléctrico
  • Carpintería interior
  • Soportes de tuberías y radiadores

Soportes

  • Placa de yeso
  • Ladrillo alveolar (se debe comprobar la compatibilidad)
  • Paneles

Datos técnicos

Dimensiones

Dimensiones

Modelo Referencia del producto Dimensiones tornillo [dxLv] [mm] Ø agujero [d0] [mm] Plug length [Ø x L] Espesor mínimo de la pared de soporte [hmax]. [mm] Espesor máximo de la pared [hmax]. [mm] Ctd por caja Ctd por embalaje Peso [kg]
7500100403800TMCM4x4188x334910020000.007
7500100404500M4x4788x3991610020000.008
7500100504500M5x431010x375135010000.014
7500100505800M5x601010x535185010000.017
7500100507100M5x741010x6518325010000.021
7500100604500M6x451212x375125010000.018
7500100605800M6x601212x535185010000.022
7500100607100M6x741212x6618325010000.026

Herramienta de instalación

Modelo Referencia del producto Ctd por caja
4990100000100TMC-MTZ1

Instalación

Paquetes ZIP

Comprar online

No items available.

Contact

Simpson Strong-Tie Spain SL

Simpson Strong-Tie Spain SL

Calle Carlos Jiménez Díaz, 17
Pol. Ind. La Garena
28806 Alcalá de Henares Madrid
España

Teléfono

Correo electrónico