SPF-Z

Grapa derecha e izquierda ZPro para vigas

La grapa SPF-Z permite unir dos piezas de madera superpuestas formando un ángulo de 90°. El revestimiento ZPro permite su uso en construcciones tipo terraza en ambientes exteriores no salinos.

Marcado CE
DITE
Clase de servicio 3
Exterior
Zpro
EPD

Detalles de producto

Imagenes

Características

Matière

  • Acero galvanizado S250GD + ZPro,
  • El acabado ZPro corresponde con un espesor de zinc alrededor de 55 µm.

Ventajas

  • Uso en exteriores gracias al revestimiento ZPro,
  • Gran polivalencia de aplicación...

Aplicaciones

Campos de uso

  • Fijación de elementos de madera cruzado a 90° en exteriores,
  • Terrazas...

Supporte

  • Elemento principal : madera maciza, madera laminada, madera compuesta...
  • Elemento secundario : madera maciza, madera laminada, madera compuesta...

Datos técnicos

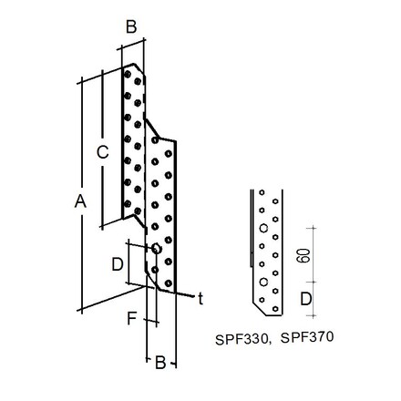
Dimensiones

Dimensiones

Modelo Dimensiones [mm] Agujeros Ala A Agujeros Ala B Box Quantity Peso [kg]
A B C D F t Ø5 Ø5 Ø9
SPF210LZ21032.514037.5142141311000.13
SPF210RZ21032.514037.5142141311000.13

La SPF..."L" es la versión izquierda mientras que la "SPF..."R" es la versión derecha.

Valores Característicos - Madera sobre madera - 1 grapa

Modelo Valores Característicos - Madera sobre madera
Fijaciones Valores Característicos - Madera C24
Soporte Viga R1.k R2.k R3.k
CSA5.0x35Z CSA5.0x35Z CSA5.0x35Z
SPF210LZ77min(9,7 ; 8,4 /kmod)3.31.5
SPF210RZ77min(9,7 ; 8,4 /kmod)3.31.5

En esta tabla se dan los valores característicos para una grapa, en el caso de que los elementos de madera estén bloqueados en rotación.
La resistencia para dos grapas SPF se obtiene sumando las resistencias individuales.

Instalación

Montaje

Fijaciones

  • Puntas anilladas CNA Ø4.0x40G,
  • Tornillos CSA5.0x35Z o CSA5.0x40Z,
  • Tornilos para conectores SSH Ø8 mm...

Certificación

Declaración de prestaciones (DoP)

Idoneidad Técnica Europeo (ETA)

Descarga

  • ZPRO Conectores para exteriores

    ZPRO Conectores para exteriores

    La gama de conectores estructurales ZPRO ofrece una alternativa económica al acero inoxidable. Ideal para proyectos expuestos a los imprevistos climáticos, como cocheras y terrazas.

Paquetes ZIP

Comprar online

No items available.

Contact

Simpson Strong-Tie Spain SL

Simpson Strong-Tie Spain SL

Calle Carlos Jiménez Díaz, 17
Pol. Ind. La Garena
28806 Alcalá de Henares Madrid
España

Teléfono

Correo electrónico